
BMW files patent for screw that uses emblem as the drive structure

BMW has filed a patent with the German Patent and Trade Mark Office for a design that would prevent unauthorized users from removing screws in certain areas of its vehicles, such as the cabin.
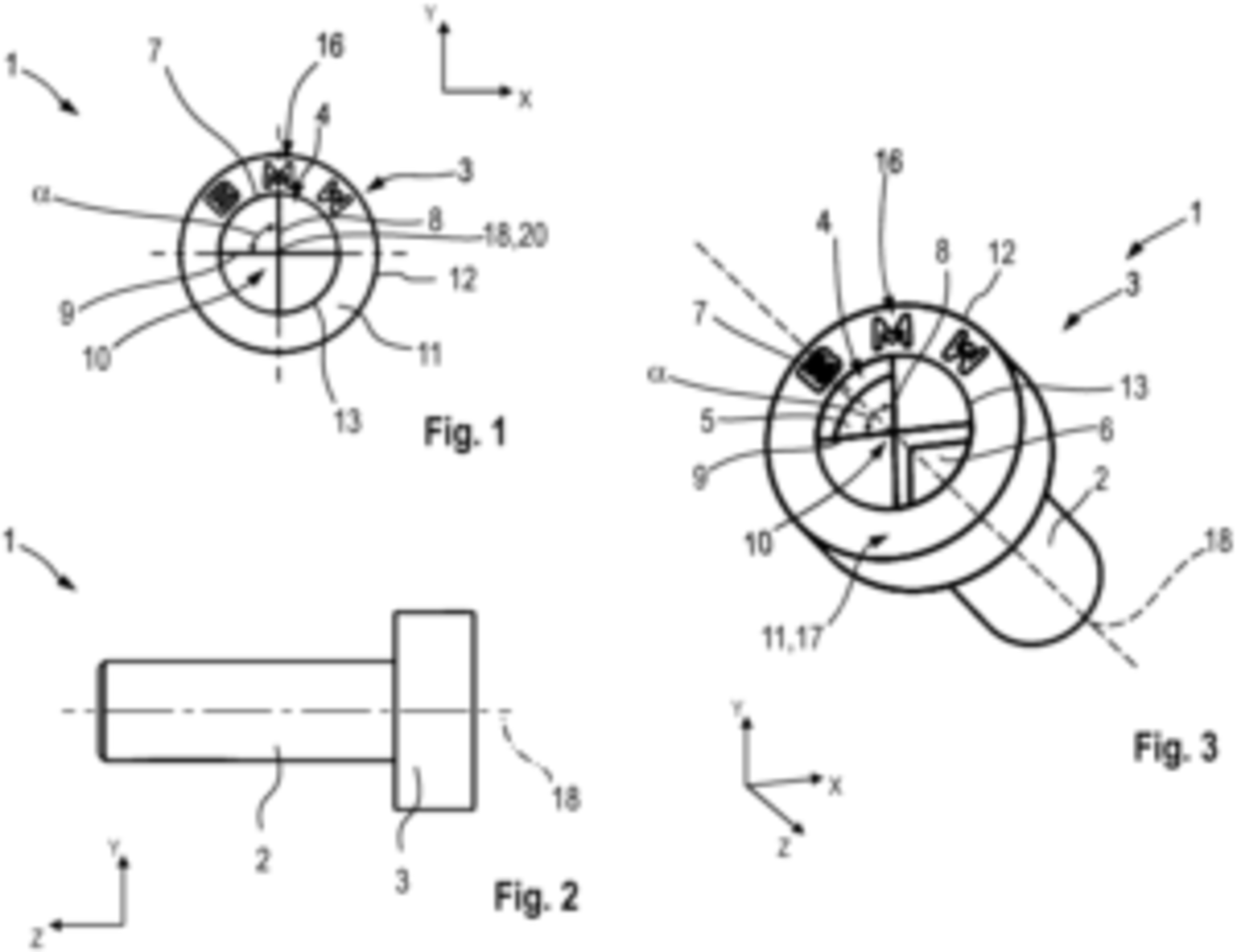
The top of the screw would be designed to resemble BMW’s roundel and would require tools matching the shape to remove it.
Screws typically share similar drive structures, such as a slot head, a hexagon socket, or an internal multi-tooth or cross slot, the patent says.
“A disadvantage here is that such drive structures frequently occur in such a way that screw connection produced with corresponding screws can be released or tightened in a simple manner by persons,” the patent said.
The invention is based on specifying a screw that has a specific drive structure that can only be rotated with a small number of standard screwing tools, the patent says.
It mentions the screw could be used in the connection of the center console or cockpit to the load-bearing body structure. It could be used on the connection of the seat systems, such as the front passenger seat, second and third row seats, or a bench seat.
“These screw connections could be located in the region of the vehicle that is visible to the user of a vehicle, so that the protection against unauthorized release of the screw or manipulation of the screw with standard tool drives could be made more difficult,” the patent says.
Some media outlets have criticized the patent, with AutoBlog speculating that “unauthorized persons” means a consumer’s “local garage or trusted independent mechanic.”
“By locking basic mechanical access behind hardware hurdles, BMW is drawing an even thicker line between owners and their cars,” AutoBlog says. “DIY jobs become harder, and independent workshops face yet another obstacle when servicing newer models. Something as simple as removing a seat could suddenly turn into a compulsory dealer visit.”
However, the patent does not describe unauthorized persons, which one could speculate includes those engaged in criminal activity.
AutoBlog also fails to note that it’s not uncommon for independent collision facilities to purchase specialized tools and have access to specialized tools from OEMs to complete repairs, as vehicles become more technical and specialized.
AutoBlog does give BMW some praise over the design, noting from that perspective, it is actually “quite cool.”
“It is distinctive, brand-specific, and visually appealing enough to be used in areas where fasteners are normally visible,” AutoBlog writes. “That tracks with a company that obsesses over aesthetics, spending nearly $35 million on a shop for individualized paintwork.”
Images
Feature and embedded photo from BMW’s patent application filed with the German Patent and Trade Mark Office

