
GM engineer applies for magnetic liftgate patent

A General Motors engineer has filed for a patent to quiet cabin noise with an electromagnetic liftgate latch.
At least one electromagnetic latch would reduce liftgate structure noise by constraining displacements when the vehicle is in operation, according to the patent application.
Murali K. Konga, inventor and engineer, wrote in the application that SUVs, crossover vehicles, minivans, and cargo vans are particularly susceptible to heightened noise and vibration because their structures allow for a larger and more acoustic interior as well as increased flexing of liftgates and doors when the vehicles are moving.
While sheet metal or other structural features could be added and vehicles tuned to reduce noise Konga wrote that doing so may not be aesthetically acceptable and could severely compromise desired vehicle characteristics.
Instead, his invention would include a liftgate with one hinged attachment, a mechanical latch, an electromagnetic latch, and a control module. When the electromagnetic latch is engaged, it would contain liftgate displacement, according to Konga.
An electromagnetic latch may include an electromagnet — an electrical coil surrounding a magnetic core such as iron or steel and a magnetic mass such as iron or steel. The electromagnet would likely be mounted near the right D-pillar and the magnetic mass would be on the liftgate.
A body control module or the combination of a powertrain, engine control, and electric propulsion control modules to control the state of the electromagnet (energized or deenergized).
Images
Featured image: Figure 1 illustrates a 3D rear-view depiction of the electromagnetic latch and accompanying components. (Provided in patent application)
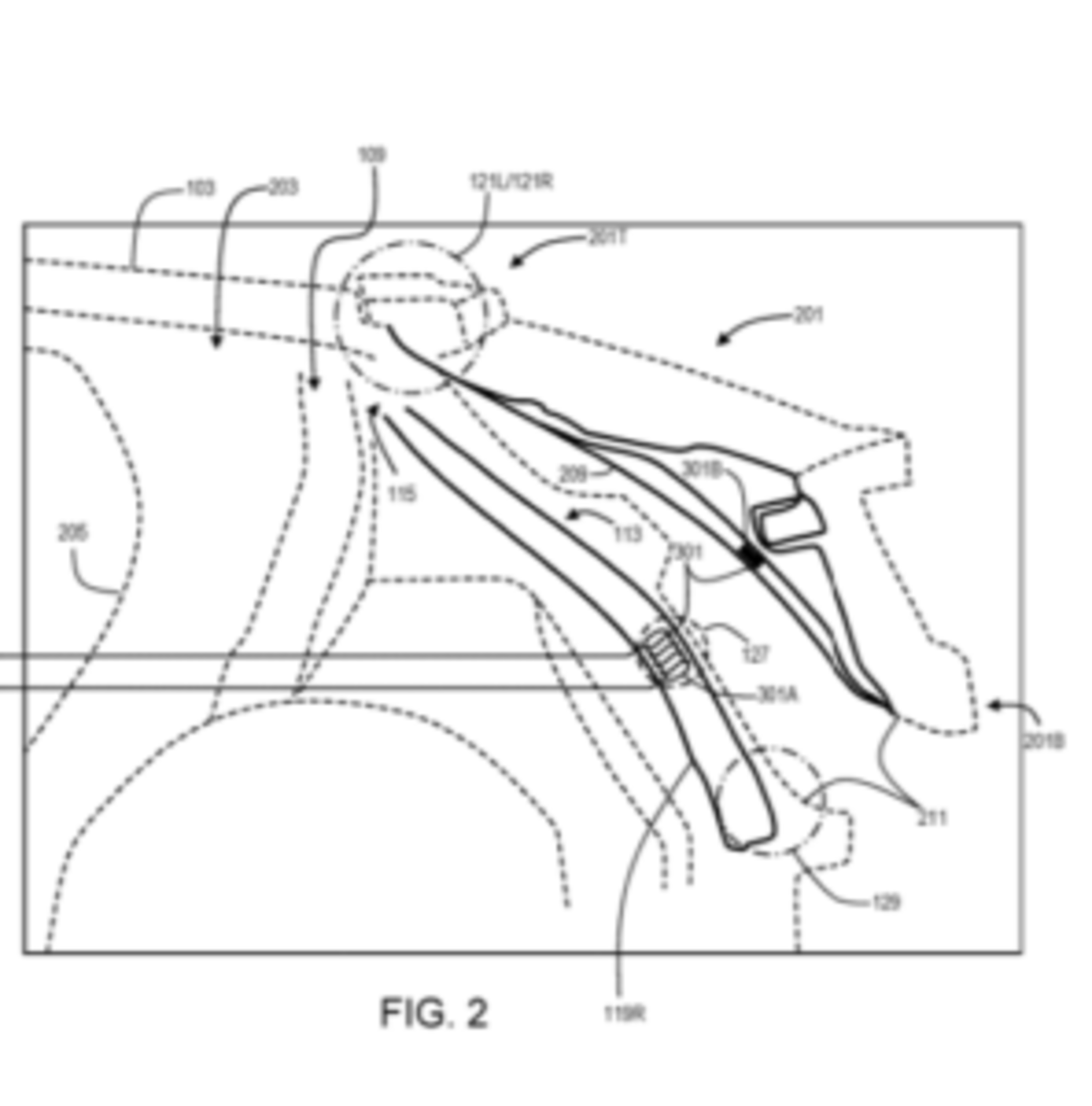
Figure 2 illustrates a partial sectional depiction of a portion of a vehicle including a liftgate and varying examples of accompanying components. (Provided in patent application)

